西政資本--西政地產、金融圈校友傾心打造的地產、資本運作平臺,為您提供最全面、最專業的地產、金融知識及實操干貨!微信公眾號ID:xizheng_ziben
作者:債券民工在路上
來源:債券民工(ID:bondworker)
根據黔西南州城市建設投資(集團)有限公司(以下簡稱“黔西南城投”)2022年1月5日的公告,貴州省國有資本運營有限責任公司出資14億元,成為持有公司13.1%股權的股東。黔西南城投的實際控制人未發生變更,仍然是黔西南州國資委,目前已完成了股權變更工商手續。黔西南城投的主體信用等級為中誠信國際AA。

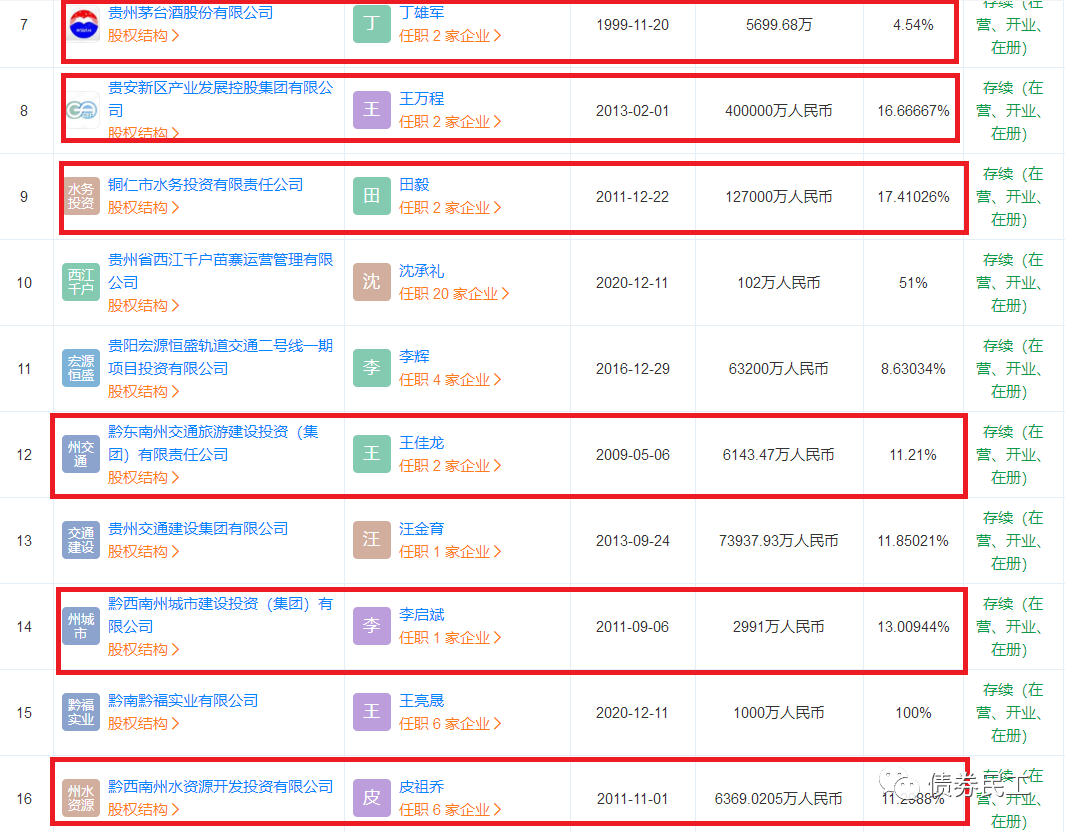
貴州省國有資本運營有限責任公司(以下簡稱“貴州國資公司”)的控股股東是貴州金融控股集團有限責任公司,實際控制人是貴州省財政廳。從公開信息來看,貴州國資公司對外投資共有17家公司,其中持有貴州茅臺酒股份有限公司4.54%的股權,并持有貴州交通建設集團有限公司11.85021%的股權。

根據公開信息,除了黔西南州城市建設投資(集團)有限公司之外,貴州國資公司已經參股貴州省多家市級城投公司:

1、2020年12月31日,貴州國資公司成為貴安新區產業發展控股集團有限公司(中誠信國際主體信用等級AA,實際控制人貴安新區管委會)持股比例為16.6667%的股東。

2、2021年4月30日,貴州國資公司成為銅仁市水務投資有限責任公司(中誠信國際和聯合資信主體信用等級AA,實際控制人銅仁市國有資產管理局)持股比例為17.41026%的股東。

3、2021年12月21日,貴州國資公司成為黔東南州交通旅游建設投資(集團)有限責任公司(中誠信國際和中證鵬元主體信用等級AA,實際控制人黔東南州國資委)持股比例為11.21%的股東。

4、2021年12月27日,貴州國資公司成為黔西南州水資源開發投資有限公司(實際控制人黔西南州國資委)持股比例為11.2988%的股東。

注:文章為作者獨立觀點,不代表資產界立場。
題圖來自 Pexels,基于 CC0 協議
本文由“債券民工”投稿資產界,并經資產界編輯發布。版權歸原作者所有,未經授權,請勿轉載,謝謝!
原標題: 貴州國資公司已入股多家市級城投公司!

債券民工 











